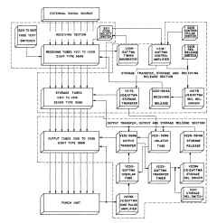
|  | 1950s Navy Tape Relay Equipment (ex- Postal Telegraph) - Description | ||
| Receiving - reperforator  |  | Transmitting - TD  |   | 
| NAVCOMMSTA Guam Tape Relay 1968-69 - photos thanks to Rodney Rood | |||
|   |  |   |   | 
|  |   |   |  | 
|  |  |   |   | 
| 1970s Model 28 Torn Tape Equipment aboard USS Midway | |||
| AN/FGC-79A (3 printers + keyboard) AN/FGC-100A (4 printers) Page Printer Monitor Groups ("waterfall") | TT-333A/UG Transmitter Group | TT-332A/UG Monitor Group | |
| 1980s Model 28 Torn Tape Equipment aboard USS New Jersey | |||
| AN/FGC-79A Printer Group  | AN/UGT-5 Transmitter Group   | TT-331/UG Receiving Group  | |
| Model 28 Tape Relay EquipmentTechnical Manual 271B - 42MB pdf | |||
| Transmitter Group (6 TD) | Monitor Group (6 Reperf) | Printer (triple RO) | |
| Transmitter GroupThere were several variants Transmitter group restoration and videos | TT-310/UG 3 ea. Message Identification Modules 3 ea. LXD TDs 3 ea. LBXD16 TDs | TT-333A/UG 6 ea. Message Identification Modules 6 ea. LBXD TDs | AN/UGT-5 (TEMPEST) 3 ea. Message Identification Modules (nixie readout) 6 ea. LXD TDs   | 
| Model 28 Reperforator-Transmitter
 28RT page - photos, info and video 
 
 
 | 28RT - Reperforator Transmitter Group | 28RT - Reperforator Transmitter Unit 
 | |
| Model 14 RT Reperforator-Transmitter (FRXD) |   |  |   | 
|   |   |  |   | 
| High Speed Tape Equipment - brochureVideo of BRPE in actionBRPE Punch Block Info 
 | BRPE High Speed Tape Punch | Installation at NGR Nea Makri Greece | Installation at NGR Nea Makri Greece | 
| TT-329/UG BRPE |   |   |  | 
| High Speed Punch (BRPE) Control Unit BCUI and associated power supply BPUI |   |   |  | 
| High Speed (600WPM) Transmission System - BrochureElectronics appear similar to pieces of AN/FGC-5 multiplexer | High Speed Tape Transmitter   | Transmitter Electronics   | Receiver Electronics including controller for
      BRPE High Speed Tape Punch  | 
| Model 28 Triple TD unit used in Transmitter Group |   |   | This unit uses the LBXD TD with parallel wire input/output as well as serial output. | 
| Message Identification Module used in Transmitter Group
      (Teletype 173520)  Principles
      of Operation - 8MB
      pdf | Video of unit in operation | ||
| Triple TD with single-contact LXD LMXB202 | |||
|  |  |   |  | 
| Receiving Group - Multiple Reperf | Multiple Reperf Base LMRB  | -- | -- | 
| TT-418/FG - part of AN/FGC-79 Multiple Printer | |||
|  | -- | -- | |
| AN/FGC-6 | Receiver - Transmitter - Monitor NAVSHIPS 91899 | ||
| AN/FGC-38 | Receiver - Transmitter - Monitor NAVSHIPS 92378 - link | ||
|   |  |   |  | 
| AN/FGC-38A | Receiver - Transmitter - Monitor NAVSHIPS 92833 | ||
| TT-168/FGC-39 triple TD used for message numbering tapes   | MXD-11 triple TD as used in FGC-38 | ||
| TT-168/FGC-38 TD | |||
| TT-169/FGC-38  |  | -- | -- | 
| TT-164/FGC-38 Typing Reperf |  |   |  | 
| T-200/FGC-38A typing reperf  |  |   |  | 
| TT-201/FGC-38A reperf  |  |   |  | 
| TT-204/FGC-39 reperf | |||
|  | |||
| AN/FGC-71 Routing Set (Multiple Address Processing Unit) | Routing Set - Used to create multiple individually-addressed tapes from one
      multi-address master Includes 20 ea. TT-329/UG Reperforators (625 wpm) NAVSHIPS 94125 | ||
| AN/FGC-73 Routing Set (Multiple Address Processing Unit)
 
 
 
 
 
 
 | Used to create multiple individually-addressed tapes from one
      multi-address master Includes 22 ea. TT-329/UG Reperforators (850 wpm) NAVSHIPS 94492 | ||
| OA-4042/FGC-73 Console | ---- | ||
| AN/FGR-5 Receiver Set | Torn Tape Relay Receiver Includes 6 ea. TT-315/UG Typing Reperforators NAVSHIPS 94158 | ||
| AN/FGR-5A Receiver Set | Torn Tape Relay Receiver Includes 6 ea. TT-315/UG Typing Reperforators | ||
| AN/FGR-6 Monitor Set | Reperforator (Monitor) Set Includes 6 ea. TT-317/UG Typing Reperforators NAVSHIPS 94158 | ||
| AN/FGR-6A Monitor Set | Reperforator (Monitor) Set Includes 6 ea. TT-317/UG Typing Reperforators 
 | ||
| AN/FGT-4 Transmitter Set | Transmitter Set Includes 6 ea. TT-354/UG Transmitter-Distributors 
 | ||
| AN/GGA-1 - Info moved here | |||
| AN/TGC-1A | AN/TGC-1 description (Signal Corps equipment also used by USN) - thanks to Bob K6OSM 
 | ||
| From Dave - "This machine is the grand daddy of tape relay systems. They were nicknamed "Chesters" in their day, as they somewhat resembled a Chest of Drawers. The AN/TGC-1s were probably phased out of military use around 1952, having been replaced by the Korean War vintage AN/TGC-4s (1952), AN/FGC-35s (1955), and AN/FGC-38s (1955 thru 1966 or so). The AN/TGC-1s dated from around early 1942, and were built both for the Army and Navy at the outset of WW II. They were used on both point to point circuits and on radio teletype "network" circuits (early form of Navy RATT Fleet Broadcast for ships and Army General Broadcast RATT circuits)." | |||
| AN/UGC-10 Message Address Segregator | Used to create multiple individually-addressed tapes from one multi-address master | -- | -- | 
| AN/UGC-71 Manual Message Address Segregator | Used to create multiple individually-addressed tapes from one multiple-address master Click here for video of operating unit Download 314B manual pdf | ||
| TT-206/U Electronic Word Counter |  |  | |
|  | |||
| Stelma Model EWC-1 |  |  |  | 
|   |  | ||
| Counts one word for every six characters |  |  | Patent info | 
| ------------------------------- | |||
| Torn Tape System Parts Manual(the R-390A title is some strange misprint!) |  | ||
| HIGH LEVEL EQUIPMENT (NON-TEMPEST) 
 | |
| AN/FGC-59 | Model 28, Torn Tape System, Send-Receive Page Printer Set. Consists of floor cabinet, sprocket feed typing unit, 2 bases, typing reperforator, 6 transmitter distributors, 2 synchronous motors and gears for 45.5 and 74.2 baud. 7.42 unit code, 115VAC, 60 Hz. Includes communication symbol arrangement. | 
| AN/FGC-69 | Model 28 Multiple Page Printer Monitor Group. Consists of floor cabinet, 3 friction feed typing units, keyboard, 3 synchronous motors and gears for 45.5, 56.9 and 74.2 baud. 7.42 unit code, 60 Hz, 115VAC. Includes communication symbol arrangement, 3 paper winders and selective calling feature. | 
| AN/FGC-69X | Model 28 Multiple Page Printer Monitor Set. Same as AN/FGC-69 except uses (2) LMU28 and (1) LMU41, 50/60 Hz series governed motor units instead of 3 synchronous motor units. | 
| AN/FGC-74 | Model 28 Multiple Page Printer Monitor Group. Consists of floor cabinet, 3 friction feed typing units, keyboard, 3 synchronous motors and gears for 45.5, 50 and 75 baud. 7.00 unit code, 60 Hz, 115VAC. Includes communication symbol arrangement, 3 paper winders and keyboard switching. | 
| AN/FGC-74A | Model 28 Multiple Page Printer Monitor Group. Same as AN/FGC-74 except includes gears for 75 baud, gold plated contacts in keyboard, two tube drivers and no keyboard switching. | 
| AN/FGC-74X | Model 28 Multiple Page Printer Monitor Group. Same as AN/FGC-74 except includes 50/60 Hz series governed motors and tuning fork. | 
| AN/FGC-79 | Model 28 Multiple Page Printer Monitor Group. Consists of floor cabinet, 3 friction feed typing units, keyboard, 3 synchronous motors and gears for 45.5 and 74.2 baud. 7.42 unit code, 60 Hz, 115VAC. Includes communication symbol arrangement, 3 paper winders and keyboard switching. | 
| AN/FGC-79A | Model 28 Multiple Page Printer Monitor Group. Same as AN/FGC-79 except includes stepping magnet in keyboard. | 
| AN/FGC-79AX | Model 28 Multiple Page Printer Monitor Group. Same as AN/FGC-79A except includes 50 Hz synchronous motors. | 
| AN/FGC-79X | Model 28 Multiple Page Printer Monitor Group. Same as AN/FGC-79 except includes 50/60 Hz series governed motors. | 
| AN/FGC-96 | Model 28 Multiple Page Printer Monitor Group. Consists of floor cabinet, 3 friction feed typing units, keyboard with gearshift, 3 synchronous motors and gears for 45.5 and 75 baud. 7.00 unit code, 60 Hz, 115VAC. Includes communication symbol arrangement, 3 paper winders and stepping magnet in keyboard. | 
| AN/FGC-96A | Model 28 Multiple Page Printer Monitor Group. Same as AN/FGC-96 except includes weather character arrangement. | 
| AN/FGC-96X | Model 28 Multiple Page Printer Monitor Group. Same as AN/FGC-96 except includes 50/60 Hz series governed motors and tuning fork. | 
| AN/FGC-100 | Model 28 Multiple Page Printer Monitor Group. Consists of floor cabinet, 4 friction feed typing units, 4 synchronous motors and gear sets for 75 baud. 7.00 unit code, 60 Hz, 115VAC. Includes communication symbol arrangement and 4 paper winders. | 
| AN/FGC-100A | Model 28 Multiple Page Printer Monitor Group. Same as AN/FGC-100 except includes contact in stunt boxes for control purposes. | 
| AN/FGC-101 | Model 28 Multiple Page Printer Monitor Group. Same as AN/FGC-100 except includes 50Hz synchronous motors. | 
| AN/FGR-5 | Model 28 Torn Tape Receiver Group. Consists of floor cabinet, 2 bases, (6) RY33 line relays, 2 synchronous motors, 6 fully perforated typing reperforators and gears for 45.5, 50 and 75 baud. 7.00 unit code, 60 Hz, 115VAC. Includes communication symbol arrangement and remote control non-interfering LETTERS tape feed out. | 
| AN/FGR-5A | Model 28 Torn Tape Receiver Group. Same as AN/FGR-5 except for different cabinet (LBAC243BR) and omission of line relays. | 
| AN/FGR-6 | Model 28 Torn Tape Monitor Group. Consists of floor cabinet, 2 bases, (6) RY33 line relays, 2 synchronous motors, 6 fully perforated typing reperforators, gears for 45.5, 50 and 75 baud and 2 tape winders. 7.00 unit code, 60 Hz, 115VAC. Includes communication symbol arrangement. | 
| AN/FGR-6A | Model 28 Torn Tape Monitor Group. Same as AN/FGR-6 except for different cabinet (LBAC242BR) and omission of line relays. | 
| AN/FGR-8 | Model 28 Torn Tape Monitor Group Consists of floor cabinet, 2 bases, 2 series governed motors, 6 fully perforated typing reperforators, gears for 75 baud and 2 tape winders. 7.00 unit code, 47-63 Hz, 115VAC. Includes communication symbol arrangement. CRITICOM type. | 
| AN/FGR-9 | Model 28 Torn Tape Receiver Group. Consists of floor cabinet, 2 bases, 2 series governed motors, 6 fully perforated typing reperforators, 2 (LMU) plates, tuning fork. 7.00 unit code, 50/60 Hz, 115VAC. Includes communication symbol arrangement. | 
| AN/FGT-4 | Model 28 Torn Tape Transmitter Group. Consists of floor cabinet, 2 bases, 2 synchronous motors, 6 transmitter distributors and gears for 45.5, 50 and 75 baud. 7.00 unit code, 60 Hz, 115VAC. Includes 6 numbering modules for 6 circuit or 3 circuit tandem operation. | 
| AN/FGT-6 | Model 28 Torn Tape Transmitter Group. Consists of floor cabinet, 2 bases, 2 series governed motors, 6 transmitter distributors and gears for 75 baud. 7.00 unit code, 47-63 Hz, 115VAC. Includes 3 numbering modules for three circuit tandem operation. CRITICOM type. | 
| AN/GGA-19 | High Speed Tape Punch Set. Consists of punch, base, cover, tuning fork, and synchronous motor unit. Free speed 1100 WPM. 5-8 code level; 11/16 or 1 in. fully perforated tape. 50/60 Hz synchronous motor, 110 CPS. | 
| AN/GGA-20 | High speed Tape Reader Set. Consists of reader, base, cover, synchronous motor unit. Transmitting speed 1071 WPM. 5-8 code level; 11/16, 7/8 or 1 in. fully perforated tape. 60 Hz synchronous motor, 107 CPS. | 
| AN/GGC-12 | Model 28 Torn Tape Multiplication, for use with route line segregators. Consists of floor cabinet, 2 bases, 4 fully perforated typing reperforators, 2 synchronous motors, and gears included in base for 75 baud. unit code, 60 Hz, 115VAC. | 
| AN/GGR-1 | Model 28 Torn Tape Receiver Group. Consists of floor cabinet, base, 6 fully perforated typing reperforators, 2 synchronous motors, and gears included in base for 75 baud. Six 177010 selector magnet drivers instead of 6 vacuum tube keys. 7.00 unit code, 60 Hz, 115VAC. Includes communications symbol arrangement. | 
| AN/GGR-1A | Model 28 Torn Tape Receiver Group. Same as AN/GGR-1 except it has an additional sprocket for 45.5 baud. | 
| AN/GGR-1X | Model 28 Torn Tape Receiver Group. Same as AN/GGR-1 except uses 2 series governed motors 50/60 Hz with speed indicator lights instead of synchronous motors, and a tuning fork. Also has an additional sprocket for 45.5 baud. | 
| AN/GGR-2 | Model 28 Torn Tape Monitor Group. Consists of floor cabinet, 2 bases, 2 synchronous motors, 6 fully perforated typing reperforators, gears for 75 baud and 2 tape winders. 7.00 unit code, 60 Hz, 115VAC. Includes communications symbol arrangement. | 
| AN/GGR-2A | Model 28 Torn Tape Monitor Group. Same as AN/GGR-2 except it has additional sprockets for 45.5 baud. | 
| AN/GGR-2X | Model 28 Torn Tape Monitor Group. Same as AN/GGR-2 except includes series governed motors and tuning fork. | 
| AN/GGT-3 | Model 28 Torn Tape Transmitter Group. Consists of floor cabinet, 2 bases, 6 transmitter distributors, 2 synchronous motors and gears for 75 baud. 7.00 unit code, 60 Hz, 115VAC, 6 channels. Wired for polar transmission. | 
| AN/GGT-3X | Model 28 Torn Tape Transmitter Group. Same as AN/GGT-3 except uses 50/60 Hz series governed motors instead of synchronous motors. | 
| AN/GGT-4 | Model 28 Torn Tape Transmitter Group. Same as AN/GGT-3 except not wired for polar transmission. | 
| AN/UGC-17 | Model 28 Reperforator-Transmitter Set. Consists of floor cabinet, 2 bases, 2 reel assembly tapes, 2 transmitter distributors, 2 typing reperforators and 2 synchronous motors. 7.00 unit code, 60 Hz, 115VAC. Includes communication symbol arrangement. | 
| AN/UGC-31 | Model 28 Reperforator, Transmitter Group. Consists of floor cabinet, base, 2 transmitter distributors, 2 typing reperforators and 2 synchronous motors. 7.00 unit code, 60 Hz, 115VAC. Cabinet equipped with (2) 177010 selector magnet drivers in lieu of vacuum tube driver. | 
| AN/UGC-45 | Model 28 Reperforator Transmitter Group. Same as AN/UGC-31 except uses (2) 50/60 Hz series governed motors LMU13 in lieu of 60 Hz synchronous motors LMU11. | 
| AN/UGC-65 | Model 28 Torn Tape Transmitter Group. Consists of floor cabinet, 2 bases, 2 synchronous motors, 6 transmitter distributors and gears for 45.5, 56.9 and 74.2 baud operation. 7.42 unit code, 60 Hz, 115VAC. Includes 6 numbering modules for 6 circuit or 3 circuit tandem operation. Same as AN/FGT-4 except includes 7.42 unit code operation. | 
| AN/UGC-68 | Model 28 Torn Tape Receiving Group. Consists of floor cabinet, 2 bases, 6 typing reperforators, 2 synchronous motors and gears for 74.2 baud. Cabinet has selector magnet driver and open line detector instead of line relay. 7.42 unit code, 60 Hz, 115VAC. | 
| AN/UGC-108 | Model 28 Multiple Page Printer Monitor Group. Consists of floor cabinet, 3 friction feed typing units, keyboard with gearshift for 45.5, 56.9 and 74.2 baud, 3 synchronous motors and gears for 74.2 baud. 7.42 unit code, 60 Hz, 115VAC. Includes communication symbol arrangement, 3 paper winders and stepping magnet. | 
| AN/UGR-19 | Model 28 Torn Tape Receiver Group. Consists of floor cabinet, 2 bases, 2 series governed motors, 6 chadless typing reperforators and gears for 75 baud. Includes communication symbol arrangement and remote control non-interfering LETTERS tape feed out. 7.00 unit code, 47-63 Hz, 115VAC. | 
| AN/UGR-20 | Model 28 Torn Tape Monitor Group. Consists of floor cabinet, 2 bases, 2 series governed motors, 6 chadless typing reperforators, gears for 75 baud and 2 tape winders. 7.00 unit code, 47-63 Hz, 115VAC. Includes communication symbol arrangement. | 
| AN/UGT-8 | Model 28 Torn Tape Transmitter Group. Consists of floor cabinet, 2 bases, 2 series governed motors, 6 transmitter distributors and gears for 75 baud. 7.00 unit code, 47-63 Hz, 115VAC. Includes 6 numbering modules for 6 circuit or 3 circuit tandem operation. | 
| TT-308/UG | Model 28 Torn Tape Receiver Group. Consists of floor cabinet, 2 bases, 2 synchronous motors, 6 fully perforated typing perforated and gears for 45.5 and 75 baud. 7.00 unit code, 60 Hz, 115VAC. Includes communication symbol arrangement. CRITICOM type. - Specification | 
| TT-308A/UG | Model 28 Torn Tape Receiver Group. Same as TT-308/UG except uses cabinet LBAC260BR, 45.5 baud is eliminated. | 
| TT-308X/UG | Model 28 Torn Tape Receiver Group. Same as TT-308/UG except includes series governed motors. CRITICOM type. | 
| TT-309/UG | Model 28 Torn Tape Monitor Group. Consists of floor cabinet, 2 bases, 2 synchronous motors, 6 fully perforated typing reperforators, gears for 45.5 and 75 baud and 2 tape winders. 7.00 unit code, 60 Hz, 115VAC. Includes communication symbol arrangement. CRITICOM type. - Specification | 
| TT-309A/UG | Model 28 Torn Tape Monitor Group. Same as TT-309/UG except uses cabinet LBAC259BR, includes two tube driver. CRITICOM type. | 
| TT-310/UG | Model 28 Torn Tape Transmitter Group. Consists of floor cabinet, 2 bases, 2 synchronous motors, 6 transmitter distributors and gears for 45.5 and 75 baud. 7.00 unit code, 60 Hz, 115VAC. Includes 3 numbering modules for tandem operation and stepping magnets. CRITICOM type. | 
| TT-310A/UG | Model 28 Torn Tape Transmitter Group. Same as TT-310/UG except includes gold plated contacts. CRITICOM type. | 
| TT-329/UG | High Speed Tape Punch Set. Consists of typing reperforator, base, cover and synchronous motor. Transmitting speed 1100 WPM. 8 code level, 1 inch fully perforated tape. 60 Hz synchronous motor, 110 CPS. | 
| TT-331/UG | Model 28 Torn Tape Receiver Group. Consists of floor cabinet, 2 bases, 2 synchronous motors, 6 fully perforated typing reperforators and gears for 45.5, 56.9 and 74.2 baud. 7.42 unit code, 60 Hz, 115VAC. Includes communication symbol arrangement and remote control non-interfering LETTERS tape feed out. | 
| TT-331A/UG | Model 28 Torn Tape Receiver Group. Same as TT-331/UG except uses cabinet LBAC231BR and has additional gears to include 50 baud. | 
| TT-332/UG | Model 28 Torn Tape Monitor Group. Consists of floor cabinet, 2 bases, 2 synchronous motors, 6 fully perforated typing reperforators, 2 tape winders and gears for 45.5, 56.9 and 74.2 baud. 7.42 unit code, 60 Hz, 115VAC. Includes communication symbol arrangement. | 
| TT-332A/UG | Model 28 Torn Tape Monitor Group. Same as TT-332/UG except uses cabinet LBAC242BR equipped with selector magnet drivers and has additional gears to include 50 baud. | 
| TT-333/UG | Model 28 Torn Tape Transmitter Group. Consists of floor cabinet, 2 bases, 2 synchronous motors, 6 transmitter distributors and gears for 45.5, 56.9 and 74.2 baud. 7.42 unit code, 60 Hz, 115VAC. Includes communication symbol arrangement. | 
| TT-333A/UG | Model 28 Torn Tape Transmitter Group. Same as TT-333/UG except uses different cabinet, base units and has additional gears to include 50 baud. Includes 3 numbering modules for tandem operation. | 
| TT-350/UG | High Speed Tape Punch Set. Consists of punch, base, cover and synchronous motor. 5 level, 60 Hz, 63.3 CPS, 11/16 in. fully perforated tape. | 
| TT-403/UG | Model 28 Torn Tape Receiver Group. Same as TT-331/UG except uses series governed motor. | 
| TT-403A/UG | Model 28 Torn Tape Receiver Group. Same as TT-331A/UG except includes 50 Hz synchronous motors and gears for 45.5 and 74.2 baud. | 
| TT-404/UG | Model 28 Torn Tape Monitor Group. 4C Same as TT-332/UG except uses series governed motor. | 
| TT-404A/UG | Model 28 Torn Tape Monitor Group. Same as TT-332A/UG except includes 50 Hz synchronous motors and gears for 45.5 and 74.2 baud. | 
| TT-405/UG | Model 28 Torn Tape Transmitter Group. Same as TT-333/UG except uses series governed motor. | 
| TT-405A/UG | Model 28 Torn Tape Transmitter Group. Same as TT-333A/UG except includes 50 Hz synchronous motors and gears for 45.5 and 74.2 baud. | 
| TT-461/UG | Model 28 Torn Tape Monitor-Transmitter Group. Same as AN/FGC-59 except uses two 50 Hz synchronous motors in lieu of 60 Hz synchronous motors and uses modified typing perforators. | 
| TT-461A/UG | Model 28 Torn Tape Monitor-Transmitter Group. Same as TT-461/UG except includes 3 numbering modules in cabinet for tandem operation. | 
| TT-462/UG | Model 28 Torn Tape Monitor-Transmitter Group. Same as AN/FGC-59 except uses modified typing perforators. | 
| TT-462A/UG | Model 28 Torn Tape Monitor-Transmitter Group. Same as the TT-462/UG except uses cabinet LBAC240BR. | 
| T-509/UG | Teletype High Speed Tape Punch Set. Consists of cover, fully perforated non-typing punch, synchronous motor, base and drive parts for 110 operations per second. 50 Hz, 115VAC. Includes parallel wire input to code and feed magnets of 1 amp. at 28VDC, chad box and manual tape feed out. Fully perforates 11/16" wide tape and is capable of edge notching the sides of the tape. | 
| TT-556/UG | Model 28 Torn Tape Transmitter Group. Same as TT-310/UG except includes 50 Hz synchronous motor and gears for 45.5, 50 and 75 baud. CRITICOM type. | 
| TT-575/UG | Teletype High Speed Tape Punch Set. Same as TT-509/UG except includes 60 Hz synchronous motor. | 
| TT-622/UG | Model 28 Torn Tape Transmitter Group (Miniature Size). Consists of cover, transmitter distributor, base, series governed motor, tuning fork and gears for 74.2 baud. 7.42 unit code, 50/60 Hz, 115VAC. Includes communication symbol arrangement. | 
| LOW LEVEL EQUIPMENT (TEMPEST) 
 | |
| AN/UGC-56 | Model 28 Low Level Torn Tape Monitor Group. Consists of floor cabinet, 2 bases, 2 series governed motors, 6 fully perforated typing reperforators, gears for 45.5 and 75 baud and 2 tape winders. 7.00 unit code, 47-63 Hz, 115VAC. Includes communication symbol arrangement, MIL-STD-188B six volt polar interface and Teletype's TEMPEST feature. CRITICOM type. | 
| AN/UGC-61 | Model 28 Low Level Multiple Page Printer Monitor Group. Consists of floor cabinet, 3 friction feed typing units, keyboard, 3 synchronous motors and gears for 45.5 and 74.2 baud. 7.42 unit code, 60 Hz, 115VAC. Includes communication symbol arrangement, MIL-STD-188B six volt polar interface, Teletype's TEMPEST feature, automatic carriage return and line feed, carriage return with line feed and 3 paper winders. | 
| AN/UGC-61A | Model 28 Low Level Multiple Page Printer Monitor Group. Same as AN/UGC-61 except includes more rigid cabinet and parts for bulkhead mounting. | 
| AN/UGC-61X | Model 28 Low Level Multiple Page Printer Monitor Group. Same as AN/UGC-61 except includes 50 Hz synchronous motors. | 
| AN/UGC-61Y Model 28 Low Level Multiple Page Printer Monitor Group. Same as AN/UGC-61 except includes series governed motors and gears for 74.2 baud. | |
| AN/UGR-10 | Model 28 Low Level Multiple Page Printer Monitor Group. Consists of floor cabinet, 4 friction feed typing units, 4 synchronous motors and gears for 75 baud. 7.00 unit code, 60 Hz, 115VAC. Includes communication symbol arrangement, MIL-STD-188B six volt polar interface, Teletype's TEMPEST feature, automatic carriage return and line feed, carriage return with line feed and 4 paper winders. | 
| AN/UGR-10A | Model 28 Low Level Multiple Page Printer Monitor Group. Same as AN/UGR-10 except includes more rigid cabinet and parts for bulkhead mounting. | 
| AN/UGR-10X | Model 28 Low Level Multiple Page Printer Monitor Group. Same as AN/UGR-10 except includes 50 Hz synchronous motors. | 
| AN/UGR-10Y | Model 28 Low Level Multiple Page Printer Monitor Group. Same as AN/UGR-10 except includes series governed motors. | 
| AN/UGR-11 | Model 28 Low Level Torn Tape Monitor Group. Consists of floor cabinet, 2 bases, 2 synchronous motors, 6 fully perforated typing reperforators, gears for 45.5, 50 and 75 baud and 2 tape winders. 7.00 unit code, 60 Hz, 115VAC. Includes communication symbol arrangement, MIL-STD-188B six volt polar interface and Teletype's TEMPEST feature. | 
| AN/UGR-12 | Model 28 Low Level Torn Tape Receiver Group. Consists of floor cabinet, 2 bases, 2 series governed motors, 6 fully perforated typing reperforators, gears for 45.5, 50 and 75 baud. 7.00 unit code, 47-63 Hz, 115VAC. Includes communication symbol arrangement, MIL-STD-188B six volt polar interface and Teletype's TEMPEST feature. CRITICOM type. | 
| AN/UGR-13 | Model 28 Low Level Torn Tape Monitor Group. Consists of floor cabinet, 2 bases, 2 series governed motors, 6 fully perforated typing reperforators and gears for 75 baud. 7.00 unit code, 47-63 Hz, 115VAC. Includes communication symbol arrangement, MIL-STD-188B six volt polar interface and Teletype's TEMPEST feature. CRITICOM type. | 
| AN/UGT-4 | Model 28 Low Level Torn Tape Transmitter Group. Consists of floor cabinet, 2 bases, 2 synchronous motors, 6 transmitter distributors and gears for 75 baud. 7.00 unit code, 60 Hz, 115VAC. Includes 3 numbering modules for tandem operation, MIL-STD-188B six volt polar interface and Teletype's TEMPEST feature. CRITICOM type. | 
| AN/UGT-4X | Model 28 Low Level Torn Tape Transmitter Group. Same as AN/UGT-4 except includes series governed motors. CRITICOM type. | 
| AN/UGT-5 | Model 28 Low Level Torn Tape Transmitter Group. Consists of floor cabinet, 2 bases, 2 synchronous motors, 6 transmitter distributors and gears for 74.2 baud. 7.42 unit code, 60 Hz, 115VAC. Includes 3 numbering modules for tandem operation, MIL-STD-188B six volt polar interface and Teletype's TEMPEST feature. | 
| AN/UGT-6 | Model 28 Low Level Torn Tape Transmitter Group. Consists of floor cabinet, 2 bases, 2 synchronous motors, 6 transmitter distributors and gears for 74.2 baud. 7.42 unit code, 60 Hz, 115VAC. Includes 6 numbering modules, MIL-STD-188B six volt polar interface, and Teletype's TEMPEST feature. | 
| AN/UGT-6A | Model 28 Low Level Torn Tape Transmitter Group. Same as AN/UGT-6 except includes more rigid cabinet and parts for bulkhead mounting. | 
| AN/UGT-7 | Model 28 Low Level Torn Tape Transmitter Group. Consists of floor cabinet, 2 bases, 2 synchronous motors, 6 transmitter distributors and gears for 75 baud. 7.00 unit code, 60 Hz, 115VAC.Includes 6 numbering modules, MIL-STD-188B six volt polar interface and Teletype's TEMPEST feature.CRITICOM type. | 
| TT-576/UG | Model 28 Low Level Torn Tape Receiver Group. Same as AN/UGR-12 except includes 60 Hz synchronous motors. CRITICOM type. | 
| TT-576A/UG | Model 28 Low Level Torn Tape Receiver Group. Same as TT-576/UG except includes more rigid cabinet, parts for bulkhead mounting and gears for 75 baud only. CRITICOM type. | 
| TT-577/UG | Model 28 Low Level Torn Tape Monitor Group. Same as AN/UGR-13 except includes 60 Hz synchronous motors and gears for 45.5, 50 and 75 baud. CRITICOM type. | 
| TT-578/UG | Model 28 Low Level Torn Tape Receiver Group. Same as TT-576/UG except includes 50 Hz synchronous motors. CRITICOM type. | 
| TT-579/UG | Model 28 Low Level Torn Tape Monitor Set. Same as TT-577/UG except includes 50 Hz synchronous motors. CRITICOM type. |